発明者の認定に関する裁判例
- 判例紹介
中村 由樹絵 弁理士
1.| はじめに
本稿では、発明に係る特許を受ける権利の帰属が争われ、発明者の認定が争点となった裁判例を紹介します。判決では、明細書と研究ノートの記載が詳細に対比されて発明者が認定されました。
2.| 事案の概要
知的財産高等裁判所令和7年4月24日判決
令和6年(ネ)第10029号 特許を受ける権利の確認請求控訴事件
本事案では国内特許出願又はPCT出願された複数の発明について特許を受ける権利の帰属が争われましたが、本稿では国内特許出願された発明についてのみ紹介します。
医療機器メーカーである第1審原告(以下、「原告」)は、同じく医療機器メーカーである第1審被告会社(以下、「被告会社」)を出願人とする特許出願に係る発明について、原告に代表取締役・取締役として在職中であった第1審被告Y1(以下、「被告Y1」)がした職務発明であると主張し、原告が特許を受ける権利を有することの確認を求めました。
第1審では、発明者の認定については争われず、発明が原告の業務範囲に属するか、及び被告Y1の職務に属するかが争われました。その結果、発明は原告における職務発明と認定され、原告の請求が認容されました。
控訴審では、発明者の認定が主要な争点となりました。被告会社は、発明者は被告Y1ではなく、原告と医学アドバイザー業務委嘱契約を締結していたA教授であるので、発明は原告における職務発明ではないと主張しました。一方、原告はこれを否認しました。
3.| 本件発明の内容
本件発明に係る出願の特許請求の範囲の内容は以下の通りです。
【請求項1】
血管に形成された瘤を塞栓する血管プラグであって、プッシャワイヤと、
前記プッシャワイヤの遠位側に接続され、瘤に留置される拡張部と、を備え、
前記拡張部は、カテーテルへの収納時には縮径して略筒形となり、非収納時には先端側から外向きにカールする血管プラグ。
4.| 裁判所の判断
裁判所は、以下のように発明者認定の基準を示しました。「発明とは、自然法則を利用した技術的思想の創作のうち高度のものをいうところ(特許法2条1項)、発明者といえるためには、当該発明における技術的思想の創作行為に現実に関与したこと、すなわち、技術的思想の創作行為、とりわけ従前の技術的課題の解決手段に係る発明の特徴的部分の完成に現実に関与することが必要である。」
次に、裁判所は、本件発明に係る出願明細書の記載に基づいて、本件発明が解決する技術的課題、その解決手段に係る発明の特徴的部分、及び効果を認定し、これらをA教授の研究ノート(乙第49号証)及び被告Y1の業務メモ(甲第93号証)と対比して発明者を認定しました。
本件発明1-3の特徴的部分は、血管内の瘤の破裂を予防するため瘤を塞栓するプッシャワイヤとメッシュ部とを備えた血管プラグにおいて、サイズの異なる複数の血管プラグを用意しなければならず、また、メッシュ部の急激な拡張により瘤を損傷する危険があるという課題があったため、ステントの先端部が、非収納時には、カテーテルの先端部から押し出され、外向きにカールしながら拡張する構成を採用したこと、それにより、ステントが分岐部動脈瘤の大きさに合わせ形状を変化させるため、瘤に対するサイズの自由度が高く、また、ステントがカテーテルの先端部から一定以上突出しないため、急激な拡張により分岐部動脈瘤に損傷を与えないことにある。
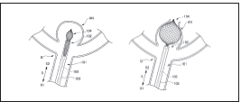
そして、乙第49号証の20頁右側(Fig. 1参照)には、血管の分岐部における瘤内で、カテーテルから押し出されたWEBの先端が硬いことによる外傷について記載され、また、本件明細書の【図6B】(Fig. 2の右図に対応)と同様の先端が尖ったWEBが示されているから、本件発明1-3が解決しようとする課題のうち、分岐部血管瘤の損傷のおそれが記載されている。次に、21頁左側(Fig. 3参照)には、WEBの先端部が、カテーテルの先端部から押し出され、外向きにカールしながら展開する本件発明1-3の請求項1及び【図3B】ないし【図3D】(Fig. 4に対応)に対応する図面が示されている。さらに、21頁右側には、「発明した‘web’又はメッシュボール」において、尖りが少なく、サイズの許容度をより得られるという本件発明1-3の効果に相応する記載がみられる。

Fig. 1 A教授の研究ノートの20頁右側(抜粋)

Fig. 2 本件出願における従来技術の説明図

Fig. 3 A教授の研究ノートの21頁左側(抜粋)

Fig. 4 本件出願における実施形態の模式図(抜粋)
そうすると、乙第49号証には、本件発明1-3の課題と解決手段が明確に記載されており、本件発明1-3の特徴的部分の完成に現実的に関与したのは、A教授と認めるのが相当である。」
「さらに、第1審原告は、第1審被告Y1の業務メモである甲第93号証(Fig. 5参照)に、平成27年頃には既に、本件発明1-3の特徴的部分であるステントの先端が外向きに三次元的にカールする形態が示されているから、本件発明1-3の発明者は第1審被告Y1である旨主張するが、当該図面は以下のものであるところ、ここからは、そもそもどのような器具であるのか、何らかの課題がありそれを新たに解決するものであるかを全く読み取ることができず、これは、この図の上部にある文字部分を参酌しても同様である。まして、この図からは、カテーテルの先端のステントが外向きに三次元的にカールするという動きのある構成を読み取ることはできない。第1審原告の主張は採用できない」

Fig. 5 被告Y1の業務メモ
なお、第1審では、被告Y1及びA教授共に、A教授がアイデアを与え、それに基づき被告Y1が発明した旨を陳述しており、陳述が変遷していました。しかし、裁判所は、「仮に第1審被告Y1及びA教授の原審の陳述に虚偽があるとしても(中略)発明の経緯に関する客観的証拠である乙第49号証が存在する状況のもとでは、陳述の変遷は、事実として誰が本件発明1-3の発明者であるかの認定判断に決定的な影響を及ぼすものとはいえない」として、客観的証拠に基づき発明者を認定しました。
5.| まとめ
本件では、課題と解決手段を明確に示した研究ノートが決定的な証拠となり、発明者が認定されました。発明者の認定は、職務発明の帰属や報奨金等の付与に直結する重要な問題であり、企業は研究記録を適切に整備・保存することが重要です。研究開発の現場では電子記録の利用も進んでいますが、紙・電子を問わず発明の着想や課題設定の経緯を明確に残し、タイムスタンプなどで信頼性を確保しておくことが望ましいでしょう。

